当前位置: 首页 > 产品大全 > 基于ASP的精品课程教学网站的设计与实现——软件工程与计算机网络工程视角

基于ASP的精品课程教学网站的设计与实现——软件工程与计算机网络工程视角

基于ASP的精品课程教学网站的设计与实现——软件工程与计算机网络工程视角

随着信息技术的飞速发展与教育信息化的深入推进,高校精品课程建设已成为提升教学质量、促进优质教学资源共享的重要举措。本文以软件工程与计算机网络工程专业为背景,探讨利用ASP(Active Server Pages)技术设计与实现一个功能完善、交互性强的精品课程教学网站,旨在为相关专业的计算机毕业设计提供一个兼具理论深度与实践价值的参考方案。

一、系统需求分析与设计目标

本网站的核心目标是为《软件工程》与《计算机网络工程》两门精品课程构建一个集教学资源管理、在线学习、师生互动与课程管理于一体的网络平台。从软件工程角度,系统开发严格遵循需求分析、系统设计、编码实现、测试与维护的生命周期。通过对教师、学生及管理员三类用户进行深入调研,确定主要功能需求:

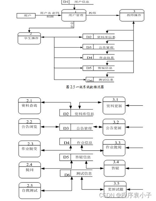
  1. 前台学生/访客模块:课程简介、教学大纲、师资队伍展示;多媒体教学资源(课件、视频、文献)的浏览与下载;在线测试与作业提交;课程论坛或问答区进行交流。
  2. 后台教师模块:教学资源(课件、视频、作业、试题)的上传、分类与管理;作业批改与成绩录入;论坛帖子的管理与答疑;发布课程通知与公告。
  3. 后台管理员模块:用户(学生、教师)账号的集中管理;网站整体栏目与权限配置;系统数据备份与访问日志监控。

从计算机网络工程视角,系统需保证在高并发访问下的稳定性、数据在网络传输中的安全性以及资源的高效分发。

二、系统架构与技术选型

  1. 开发模式与架构:采用经典的B/S(浏览器/服务器)架构,用户通过浏览器即可访问,无需安装特定客户端,便于维护与升级。开发过程遵循软件工程的模块化思想,将系统划分为表示层、业务逻辑层和数据访问层,以提高代码的可读性、可维护性与可复用性。
  2. 核心技术栈
  • 服务器端:采用ASP作为主要开发技术,结合VBScript或JavaScript脚本语言,动态生成HTML页面。ASP内置于IIS(Internet Information Services)服务器,易于部署在Windows Server环境。
  • 数据库:选用Microsoft SQL Server或Access,用于存储用户信息、课程内容、作业数据、论坛帖子等结构化数据。通过ADO(ActiveX Data Objects)组件实现ASP与数据库的高效连接与操作。
  • 客户端技术:使用HTML、CSS进行页面布局与美化,利用JavaScript及AJAX技术实现页面的局部刷新与异步交互,提升用户体验。
  • 网络与安全考量:在设计中考虑应用防火墙规则、用户会话(Session)管理、密码加密存储(如MD5/SHA)等措施,以应对网络工程中常见的安全威胁,如SQL注入、会话劫持等。

三、核心功能模块设计与实现

  1. 用户认证与权限管理模块:实现统一的登录验证,根据角色(学生、教师、管理员)重定向至不同功能界面,并严格控制各页面的访问权限。
  2. 课程资源中心模块:实现资源的分类(如按章节、类型)、上传、审核(教师上传后管理员可审核)、检索与下载。重点解决大文件(如教学视频)的上传与流媒体播放问题。
  3. 在线学习与评测模块
  • 作业系统:学生在线提交作业(支持文档上传),教师在线批阅、评分并反馈。
  • 测试系统:题库管理,支持自动组卷(随机或按条件)、在线计时答题、客观题自动评分、成绩统计分析。
  1. 互动交流模块:实现论坛或留言板功能,支持发帖、回复、置顶、分版块管理,构建学习社区。
  2. 系统管理后台:提供直观的图形化界面,方便管理员进行用户管理、内容审核、数据统计(如访问量、资源下载排行)及系统基本设置。

四、系统测试与部署

依据软件工程测试原则,进行单元测试、集成测试和系统测试。重点测试功能完整性、用户界面友好性、不同浏览器的兼容性、数据库操作的效率与安全性,以及模拟多用户并发访问时的性能压力。部署阶段,需配置稳定的Windows Server服务器、IIS环境及数据库,并申请域名或使用校内IP,确保网络畅通。

五、与展望

本设计综合运用了ASP动态网页技术、数据库技术以及软件工程的设计思想,构建了一个针对特定专业的精品课程教学网站。它不仅实现了课程资源的数字化管理与共享,更通过在线测试、作业提交和论坛互动等功能,拓展了传统课堂教学的时空限制,促进了研究性学习与协作学习。从计算机网络工程角度看,该网站是一个具体的网络应用实例,其设计涵盖了网络协议应用、服务器配置、数据安全等多个层面。

系统可进一步升级至.NET平台,增强安全性及性能;集成更智能的学习分析功能,为个性化教学提供数据支持;或开发移动端应用,以适应移动学习趋势。本设计与实现过程,为计算机相关专业学生完成一个贴近实际应用、融合多门专业知识的毕业设计提供了清晰的路径与扎实的实践基础。

如若转载,请注明出处:http://www.yemansaishi.com/product/59.html

更新时间:2026-05-08 11:15:57

产品大全

Top